top of page
DEPLOYABLE SHADE STRUCTURE
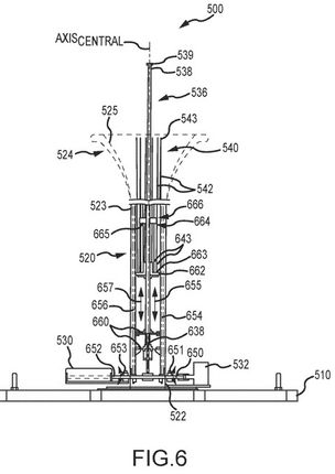
I was invited to join an R&D brainstorm to think about ways to alleviate the heat in transition areas without overhead cover around various Disney parks. One of the driving criteria was making sure that by providing a shade structure we weren't blocking the view to attractions, buildings and other activations. Looking at nature for inspiration I proposed a deployable shade structure that would expand on cue reacting to environmental sensors.
The breathable fabric canopy can also host graphics and become a projection surface to supplement night time shows. The expanding and retractable mechanism continued to be developed by the team with an outside consultant.
For more information: Google Patents

bottom of page




